Services

C-Ring sécurisé

Vignette
Vignette
Vignette
Secure C-Ring
Secure C-Ring
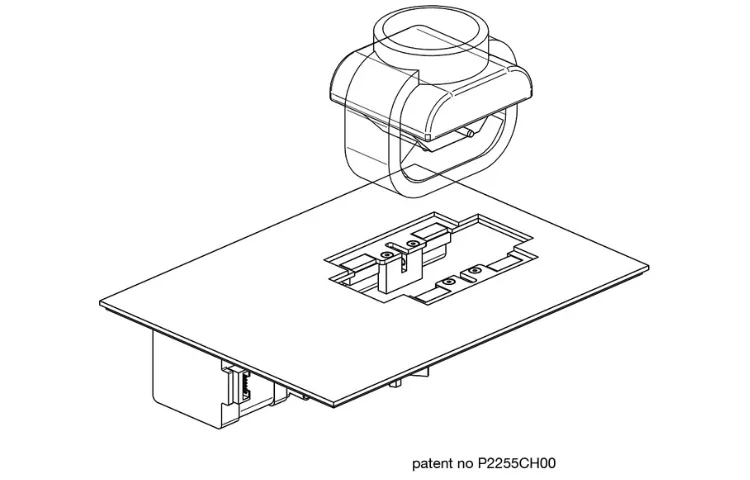
Patented Secure C-Ring

Client : Dietlin

En partenariat avec la société Dietlin, l’équipe de FiveCo a développé une gamme de supports de montre alliant sécurité, fiabilité et simplicité d’utilisation, tout en offrant une intégration possible dans de multiples configurations.

Le défi ? Développer une mécanique à la fois compacte et robuste, associée à un système électronique autonome et réactif

Le résultat : Une solution simple à déployer, parfaitement adaptable aux besoins de chaque manufacture horlogère.

Ces projets s’inscrivent dans la lignée de la philosophie disruptive de Xavier Dietlin, qui depuis plus de 20 ans bouscule les codes de la présentation horlogère en proposant des dispositifs sans cloche en verre, pour offrir une expérience client inédite et immersive.

Cette aventure a débuté avec le développement du RAPTOR en 2005.